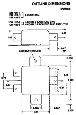
DORNE TRIPLEXER / DUAL VOR / SINGLE GS, MODEL DM H23-1
Part# 11-02774
Overview
| This Antenna Coupler is ruggedly built and housed in an aluminum case with all circuit elements fully encapsulated. It is specifically designed to couple multiple receiver systems to a single antenna with a minimum of insertion loss. The DM H23-1 is a dual VOR and single GS which will permit operation of two NAV and one glide slope receiver from one VOR/LOC antenna. |
Specifications
- Alternate Part Numbers: 14850, 36-380092, 84-37-01, CI-505, SSPD-113-12

