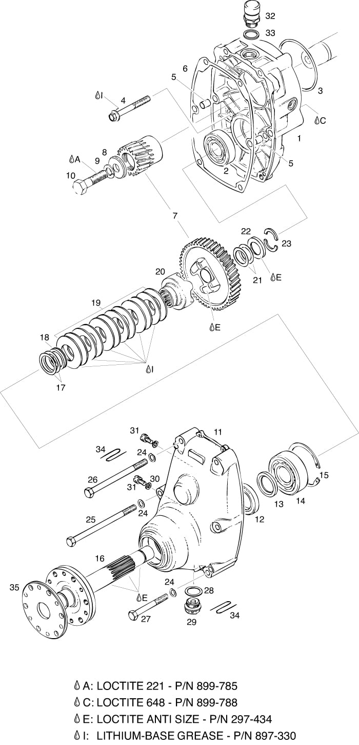
ROTAX 503 | 582 UL ENGINE REDUCTION GEARBOX “B” : I=2,00, I=2,24 OR I=2,58 PARTS
Categoría: 582UL PARTS
Precio de $0.21 a $581.75
Overview
– Items not illustrated
Explanations of symbols and statements in part number charts:
|

Precio de $0.21 a $581.75
– Items not illustrated
Explanations of symbols and statements in part number charts:
|
